Technologie d'étanchéité Cie., Ltd de Qingdao Ruichen.
Technologie d'étanchéité Cie., Ltd de Qingdao Ruichen.
Nouvelles

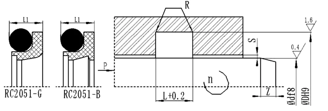
Joint combiné de l'engrenage RC2051-B / G pour l'arbre rotatif

Ce sceau est composé d'un anneau de scellage denté rempli deMatériau PTFEet unBague en caoutchouc joint, Convient pour le scellement unidirectionnel de la réciprocité hydraulique et pneumatique et du mouvement rotatif. Il a les caractéristiques d'une durée de vie élevée, de frottement faible, d'un bon étanchéité, d'un petit espace structurel et peut être utilisé pour le scellement de la pression de l'eau. Il est divisé en RC2051-B (type standard) et RC2051-G (type à grande vitesse). La conception spéciale des lèvres de RC2051 a un bon effet d'étanchésceaux rotatifs.

Sélection des matériaux

1. Le matériau du joint torique correspondant peut être sélectionné: caoutchouc nitrile R01 (NBR), R02 Fluororubber (FKM), etc.

2.


Diagramme structurel



Actualités connexes
Laissez-moi un message
X
Nous utilisons des cookies pour vous offrir une meilleure expérience de navigation, analyser le trafic du site et personnaliser le contenu. En utilisant ce site, vous acceptez notre utilisation des cookies. politique de confidentialité
Rejeter Accepter