|
Pression/MPa |
Température / °C |
Vitesse /m/s |
Moyen |
|
≤40 |
-35~+100 (avec joint torique NBR) |
≤2 |
Huile hydraulique, émulsion, eau, gaz, etc. |
|
-20~+200 (avec joint torique FKM) |
1. Matériaux de joint torique disponibles : caoutchouc nitrile butadiène R01 (NBR), caoutchouc fluoré R02 (FKM), etc.
2. Matériaux de bague d'étanchéité : Matériaux standard PTFE3 et PTFE4 ; d'autres matériaux optionnels incluent le PTFE1, le PTFE2 et le PTFE5.
Exemple de commande
Modèle de commande RC2052—80x91×4,2—PTFE3—R01 Modèle-dxDxL- Code matériau
Modèle de commande RCX17—80x91×4.2—Modèle HPU-dxDxL- Code matériau
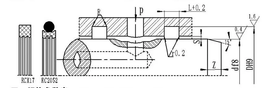
Tableau des spécifications et des paramètres (toute spécification dans la plage de paramètres est disponible)
|
Plage de diamètre d'arbre df8 |
Diamètre de la tranchée DH9 |
Largeur de tranchée L+⁰.2 |
Jeu radial Smax |
Coins arrondis Rmax |
Chanfreiner Zmin |
|
|
0 ~ 10 MPa |
10 ~ 20 MPa |
|||||
|
6~18 |
j+49 |
2.2 |
0.15 |
0.1 |
0.4 |
2 |
|
19~37 |
j+7,5 |
3.2 |
0.2 |
0.15 |
0.6 |
3 |
|
38~199 |
j+11.0 |
4.2 |
0.25 |
0.2 |
1.0 |
4 |
|
200~255 |
j+15,5 |
6.3 |
0.3 |
0.25 |
1.3 |
5 |
|
256~649 |
j+21.0 |
8.1 |
0.3 |
0.25 |
1.8 |
7 |
|
650~1500 |
j+28,0 |
9.5 |
0.45 |
0.3 |
2.0 |
8 |
Remarque : Pour les diamètres d'arbre ≤ 30 mm, des rainures ouvertes sont recommandées.
|
d |
D |
L |
d |
D |
L |
d |
D |
L |
d |
D |
L |
|
8 |
12.9 |
2.2 |
48 |
59.0 |
4.2 |
150 |
161.0 |
4.2 |
350 |
371.0 |
8.1 |
|
10 |
14.9 |
2.2 |
50 |
61.0 |
4.2 |
160 |
171.0 |
4.2 |
360 |
381.0 |
8.1 |
|
12 |
16.9 |
2.2 |
55 |
66.0 |
4.2 |
170 |
181.0 |
4.2 |
370 |
391.0 |
8.1 |
|
14 |
18.9 |
2.2 |
60 |
71.0 |
4.2 |
180 |
191.0 |
4.2 |
380 |
401.0 |
8.1 |
|
15 |
19.9 |
2.2 |
63 |
74.0 |
4.2 |
190 |
201.0 |
4.2 |
390 |
411.0 |
8.1 |
|
16 |
20.9 |
2.2 |
65 |
76.0 |
4.2 |
200 |
215.5 |
6.3 |
400 |
421.0 |
8.1 |
|
18 |
22.9 |
2.2 |
70 |
81.0 |
4.2 |
210 |
225.5 |
6.3 |
420 |
441.0 |
8.1 |
|
20 |
27.5 |
3.2 |
75 |
86.0 |
4.2 |
220 |
235.5 |
6.3 |
450 |
471.0 |
8.1 |
|
22 |
29.5 |
3.2 |
80 |
91.0 |
4.2 |
230 |
245.5 |
6.3 |
480 |
501.0 |
8.1 |
|
24 |
31.5 |
3.2 |
85 |
96.0 |
4.2 |
240 |
255.5 |
6.3 |
500 |
521.0 |
8.1 |
|
25 |
32.5 |
3.2 |
90 |
101.0 |
4.2 |
250 |
265.5 |
6.3 |
520 |
541.0 |
8.1 |
|
28 |
35.5 |
3.2 |
95 |
106.0 |
4.2 |
260 |
281.0 |
8.1 |
550 |
571.0 |
8.1 |
|
30 |
37.5 |
3.2 |
100 |
111.0 |
4.2 |
270 |
291.0 |
8.1 |
600 |
621.0 |
8.1 |
|
32 |
39.5 |
3.2 |
105 |
116.0 |
4.2 |
280 |
301.0 |
8.1 |
630 |
651.0 |
8.1 |
|
35 |
42.5 |
3.2 |
110 |
121.0 |
4.2 |
290 |
311.0 |
8.1 |
650 |
678.0 |
8.1 |
|
36 |
43.5 |
3.2 |
115 |
126.0 |
4.2 |
300 |
321.0 |
8.1 |
670 |
698.0 |
9.5 |
|
38 |
49.0 |
4.2 |
120 |
131.0 |
4.2 |
310 |
331.0 |
8.1 |
700 |
728.0 |
9.5 |
|
40 |
51.0 |
4.2 |
125 |
136.0 |
4.2 |
320 |
341.0 |
8.1 |
750 |
778.0 |
9.5 |
|
42 |
53.0 |
4.2 |
130 |
141.0 |
4.2 |
330 |
351.0 |
8.1 |
800 |
828.0 |
9.5 |
|
45 |
56.0 |
4.2 |
140 |
151.0 |
4.2 |
340 |
361.0 |
8.1 |
1000 |
1028.0 |
9.5 |
Remarque : les spécifications requises ne sont pas répertoriées ici ; veuillez contacter notre société. Nous proposons des produits d'un diamètre maximum de 2800 mm.





Instructions complètes d'installation et d'utilisation
Rui Chen sait qu'une installation correcte est la première condition préalable pour garantir la pleine performance des joints, nous vous donnerons également des conseils complets sur l'utilisation de chaque produit, en particulier les pièces personnalisées complexes ou non standard, il y aura un guide d'installation graphique détaillé.
Ces guides sont accompagnés de schémas étape par étape haute définition et d'instructions textuelles qui montrent clairement les points d'inspection avant l'installation, les bonnes étapes d'installation, les outils requis et les mauvaises opérations à éviter, comme si nos ingénieurs étaient sur place. De plus, pour les assemblages ou systèmes complexes, nous créons des didacticiels vidéo professionnels qui permettent à vos opérateurs de maîtriser intuitivement et rapidement les techniques et précautions d'installation grâce à des démonstrations dynamiques, réduisant considérablement le risque de défaillance précoce due à une mauvaise installation.
Adresse
No.1 Ruichen Road, parc industriel de Dongliuting, district de Chengyang, ville de Qingdao, province du Shandong, Chine
Tél