Technologie d'étanchéité Cie., Ltd de Qingdao Ruichen.
Technologie d'étanchéité Cie., Ltd de Qingdao Ruichen.
Produits
X

Anneau d'essuie-glace

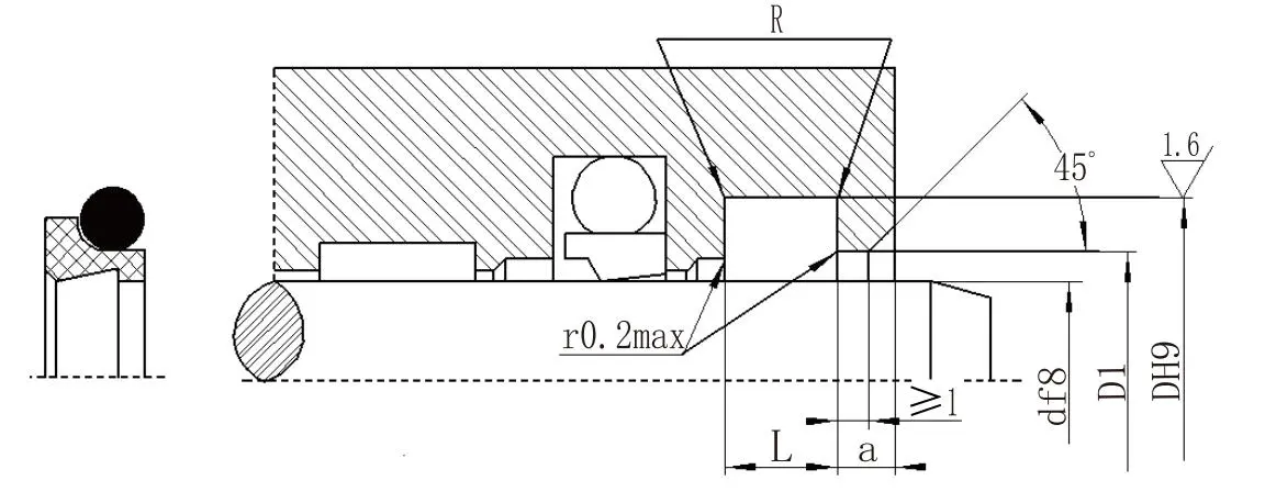
Le joint anti-poussière combiné à double lèvre lancé par Ruichen Seal (un fabricant et fournisseur bien connu de joints de tige de piston en Chine) est composé d'un joint d'étanchéité en PTFE rempli et d'un joint torique. Il dispose de fonctions de protection contre la poussière bidirectionnelle et de fonctions de compensation automatique de l'usure, d'un faible frottement, d'une longue durée de vie et d'une forte adaptabilité, et est largement utilisé dans divers scénarios de mouvements industriels tels que le mouvement alternatif, oscillant et en spirale.

Performances et applications

Le joint racleur combiné à double lèvre est un joint racleur bidirectionnel composé d'un joint racleur à double lèvre rempli de PTFE et d'un joint torique. Le joint torique fournit une précharge, compensant l'usure de la bague en PTFE. Il convient aux mouvements alternatifs, oscillants ou en spirale.


Conditions de fonctionnement

Pression Mpa

Température °C

Vitesse m/s

Moyen

-

-35~+100 (joint torique NBR correspondant)

6

Huile hydraulique, émulsion, eau, etc.

-20~+200 (joint torique FKM correspondant)


Exemple de commande

Modèle de commande RCF02-80-PTFE3-R01

RCF02 - Modèle 80 - Diamètre de l'arbre PTFE3 - PTFE modifié à usage général RO1 - Code de matériau en caoutchouc correspondant

Nitrile (NBR) - R01, Fluorocarbone (FKM) - RO2

Tableau des paramètres de spécification (des produits de n'importe quelle taille dans la plage de paramètres peuvent être fournis)

Plage de diamètre d'arbre d f8

Diamètre de rainure D H9

Largeur de rainure L+0.2

Diamètre du trou ouvert

D1H11

Largeur du trou ouvert une≥

Coins arrondis R≤

Diamètre du fil du joint torique

d0

4~11

j+4,8

3.7

j+1,5

2

0.4

1.80

12~64

j+6,8

5.0

j+1,5

2

0.7

2.65

65~250

j+8,8

6.0

j+1,5

3

1.0

3.55

251~420

j+12,2

8.4

j+2,0

4

1.5

5.30

421~650

j+16,0

11.0

j+2,0

4

1.5

7.00

651~1500

j+20,0

14.0

j+2,5

5

2.0

8.60


Balises actives: Anneau d'essuie-glace
envoyer une demande
Informations de contact
Obtenez des prix compétitifs, un support technique et des réponses rapides. Envoyez vos spécifications à Ruichen pour des solutions d'étanchéité sur mesure. Échantillons gratuits disponibles.
X
Nous utilisons des cookies pour vous offrir une meilleure expérience de navigation, analyser le trafic du site et personnaliser le contenu. En utilisant ce site, vous acceptez notre utilisation des cookies. politique de confidentialité
Rejeter Accepter