|
Pression/MPa |
Température / °C |
Vitesse /m/s |
Moyen |
|
≤40 |
-35~+100 (avec joints toriques NBR assortis) |
≤2 |
Huile hydraulique, émulsion, eau, gaz, etc. |
-20~+200 (avec joints toriques FKM correspondants) |
1. Les matériaux de joint torique appropriés comprennent : le caoutchouc nitrile butadiène R01 (NBR), le caoutchouc fluoré R02 (FKM), etc.
2. Matériaux de bague d'étanchéité : Matériaux standard PTFE3 et PTFE4 ; d'autres matériaux optionnels incluent le PTFE1, le PTFE2 et le PTFE5.
Ruichen a mené une recherche, un développement et une production indépendants depuis le début des matières premières, réalisant le contrôle de toute la chaîne de produits.
1. Plastiques techniques et matériaux composites : Nous prenons le polytétrafluoroéthylène (PTFE) comme noyau, du mélange, du frittage au moulage, en passant par la production indépendante de toutes sortes de tubes et de tiges de matériaux composites modifiés remplis, puis le traitement de précision en joints. Cela garantit la stabilité et la personnalisation des propriétés des matériaux.
2. Élastomère polyuréthane haute performance : nous partons du moulage de prépolymère, produisons indépendamment des matériaux de tuyaux et de tiges en polyuréthane de haute qualité et les transformons en divers types de joints, qui se distinguent par leur résistance à l'usure, à la pression et à l'hydrolyse.
Exemple de commande
Modèle de commande RC2054—80×69×4,2—PTFE3—Modèle R01-D*d*L- Code matériau Modèle de commande RCX18—80×69x4,2—Modèle HPU-D*d*L- Code matériau
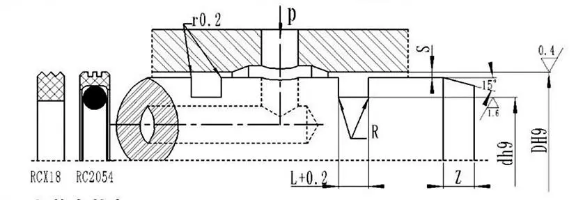
Tableau des spécifications et des paramètres (toute spécification dans la plage de paramètres est disponible)
|
Plage d'ouverture DH9 |
Diamètre de la tranchée dh9 |
Largeur de tranchée L+0,2 |
Jeu radial Smax |
Coins arrondis Rmax |
Chanfreiner Zmin |
|
|
0 ~ 10 MPa |
10 ~ 20 MPa |
|||||
|
8~39 |
D-4.9 |
2.2 |
0.15 |
0.1 |
0.4 |
2 |
|
40~79 |
D-7.5 |
3.2 |
0.2 |
0.15 |
0.6 |
3 |
|
80~132 |
D-11.0 |
4.2 |
0.25 |
0.2 |
1.0 |
4 |
|
133~329 |
D-15.5 |
6.3 |
0.3 |
0.25 |
1.3 |
5 |
|
330~669 |
D-21.0 |
8.1 |
0.3 |
0.25 |
1.8 |
7 |
|
670~1500 |
D-28.0 |
9.5 |
0.45 |
0.3 |
2.0 |
8 |
|
D |
d |
L |
D |
d |
L |
D |
d |
L |
D |
d |
L |
|
8 |
3.1 |
2.2 |
50 |
42.5 |
3.2 |
170 |
154.5 |
6.3 |
380 |
359.0 |
8.1 |
|
10 |
5.1 |
2.2 |
55 |
47.5 |
3.2 |
180 |
164.5 |
6.3 |
390 |
369.0 |
8.1 |
|
12 |
7.1 |
2.2 |
60 |
52.5 |
3.2 |
190 |
174.5 |
6.3 |
400 |
379.0 |
8.1 |
|
14 |
9.1 |
2.2 |
63 |
55.5 |
3.2 |
200 |
184.5 |
6.3 |
420 |
399.0 |
8.1 |
|
15 |
10.1 |
2.2 |
65 |
57.5 |
3.2 |
210 |
194.5 |
6.3 |
450 |
429.0 |
8.1 |
|
16 |
11.1 |
2.2 |
70 |
62.5 |
3.2 |
220 |
204.5 |
6.3 |
480 |
459.0 |
8.1 |
|
18 |
13.1 |
2.2 |
75 |
67.5 |
3.2 |
230 |
214.5 |
6.3 |
500 |
479.0 |
8.1 |
|
20 |
15.1 |
2.2 |
80 |
69.0 |
4.2 |
240 |
224.5 |
6.3 |
520 |
499.0 |
8.1 |
|
22 |
17.1 |
2.2 |
85 |
74.0 |
4.2 |
250 |
234.5 |
6.3 |
550 |
529.0 |
8.1 |
|
24 |
19.1 |
2.2 |
90 |
79.0 |
4.2 |
260 |
244.5 |
6.3 |
600 |
579.0 |
8.1 |
|
25 |
20.1 |
2.2 |
95 |
84.0 |
4.2 |
270 |
254.5 |
6.3 |
630 |
609.0 |
8.1 |
|
28 |
23.1 |
2.2 |
100 |
89.0 |
4.2 |
280 |
264.5 |
6.3 |
650 |
629.0 |
8.1 |
|
30 |
25.1 |
2.2 |
105 |
94.0 |
4.2 |
290 |
274.5 |
6.3 |
670 |
642.0 |
9.5 |
|
32 |
27.1 |
2.2 |
110 |
99.0 |
4.2 |
300 |
284.5 |
6.3 |
700 |
672.0 |
9.5 |
|
35 |
30.1 |
2.2 |
115 |
104.0 |
4.2 |
310 |
294.5 |
6.3 |
750 |
722.0 |
9.5 |
|
36 |
31.1 |
2.2 |
120 |
109.0 |
4.2 |
320 |
304.5 |
6.3 |
800 |
772.0 |
9.5 |
|
38 |
33.1 |
2.2 |
125 |
114.0 |
4.2 |
330 |
309.0 |
8.1 |
1000 |
972.0 |
9.5 |
|
40 |
32.5 |
3.2 |
130 |
119.0 |
4.2 |
340 |
319.0 |
8.1 |
|
|
|
|
42 |
34.5 |
3.2 |
140 |
124.5 |
6.3 |
350 |
329.0 |
8.1 |
|
|
|
|
45 |
37.5 |
3.2 |
150 |
134.5 |
6.3 |
360 |
339.0 |
8.1 |
|
|
|
|
48 |
40.5 |
3.2 |
160 |
144.5 |
6.3 |
370 |
349.0 |
8.1 |
|
|
|
Remarque : les spécifications requises ne sont pas répertoriées ici ; veuillez contacter notre société. Nous proposons des produits d'un diamètre maximum de 2800 mm.



Adresse
No.1 Ruichen Road, parc industriel de Dongliuting, district de Chengyang, ville de Qingdao, province du Shandong, Chine
Tél