Technologie d'étanchéité Cie., Ltd de Qingdao Ruichen.
Technologie d'étanchéité Cie., Ltd de Qingdao Ruichen.
Produits
X

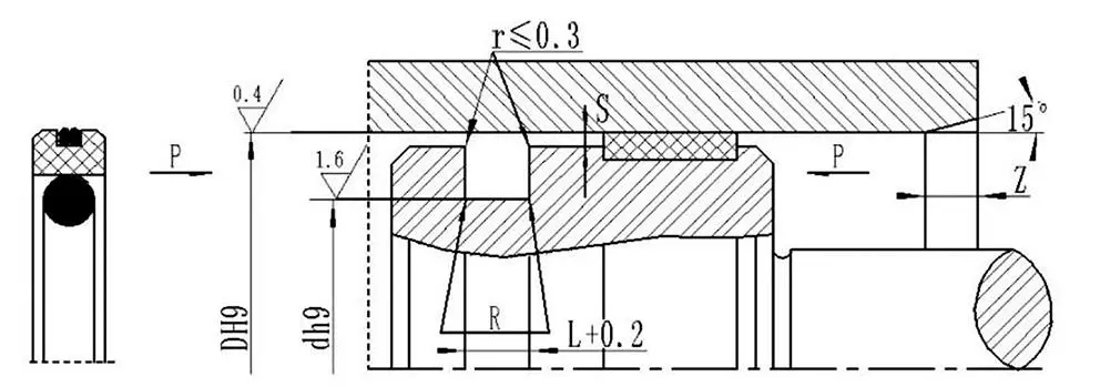
Joint composé PTFE de type AQ

Si vous souhaitez acheter le joint composé PTFE de type AQ ​​de Ruichen Seal, nous proposons des options de personnalisation de matériaux très flexibles : les élastomères peuvent être sélectionnés parmi une variété de caoutchoucs, notamment le NBR et le FKM. En plus du PTFE3 standard, les bagues d'étanchéité prennent également en charge une variété de matériaux techniques, notamment le PTFE1/PTFE2/PTFE4.

Le joint composé PTFE de type AQ ​​s'adapte largement à différents supports, températures et conditions de travail, améliorant considérablement la compatibilité et la durée de vie du système d'étanchéité.


Conditions de travail applicables

Pression Mpa

Température ℃

Vitesse m/s

Moyen

≤40

-35~+100 (NBR)

≤2

Huile hydraulique, émulsion, eau, gaz, etc.

-20~+200 (FKM)


Sélection des matériaux

1. Matériaux élastomères disponibles : caoutchouc nitrile R01 (NBR), caoutchouc fluoré RO2 (FKM), etc.

2. Matériau de la bague d'étanchéité : Matériau standard : PTFE3 ; autres matériaux disponibles : PTFE1, PTFE2 et PTFE4.

Exemple de commande AQ080080 x64,5x6,3(DxdxL)PTFE3-RO1 PTFE3 RO1-Code matériau



Balises actives: Joint composé PTFE de type AQ
envoyer une demande
Informations de contact
Obtenez des prix compétitifs, un support technique et des réponses rapides. Envoyez vos spécifications à Ruichen pour des solutions d'étanchéité sur mesure. Échantillons gratuits disponibles.
X
We use cookies to offer you a better browsing experience, analyze site traffic and personalize content. By using this site, you agree to our use of cookies. Privacy Policy
Reject Accept